Skip to main content

Profile detection events generation

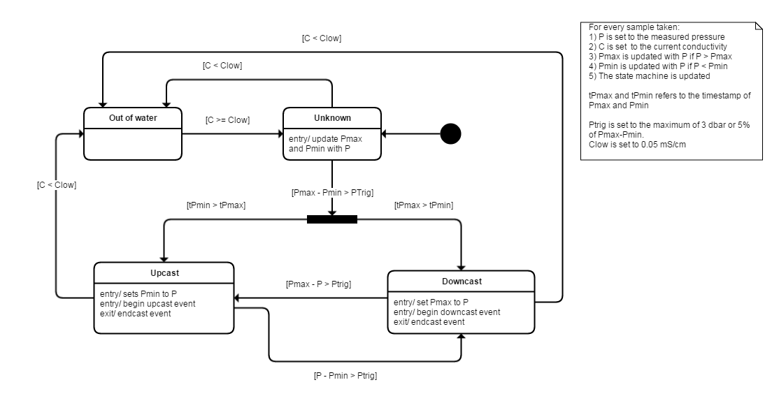
When the logger is configured with settings castdetection = on, it generates cast events in the recorded data (see EasyParse format events markers and Standard format events markers).
There are basically three types of cast events: beginning of an upcast, beginning of a downcast and end of cast.

The following state machine is used to determine those events.

 

 

 

 

 

 

JavaScript errors detected

Please note, these errors can depend on your browser setup.

If this problem persists, please contact our support.